深入解析传统跨境支付模式:银行电汇、专业汇款、国际信用卡与第三方支付
tp官方 2025年1月12日 12:12:38 tpwallet官方版 137
在如今全球化的经济环境之中,跨境支付的效率以及安全一直都是被广泛关注的重点。传统的区块链结构在跨境支付这一方面有着诸多的局限,然而基于有向无环图(DAG)技术的无链分布式账本的出现,好像带来了新的希望。

传统区块链的局限
传统区块链结构在跨境支付方面存在诸多弊端。其一,需要大量计算资源来进行挖矿操作,例如比特币挖矿,在世界各地有众多矿场,耗费了巨量的电力等资源。其二,交易确认的延迟极高,有时一笔交易确认可能需要数小时甚至数天。其三,手续费在不断增加,这增加了用户在跨境贸易等场景下的成本。这些问题确实存在,并且极大地阻碍了跨境支付的发展。从跨境电商的发展情况来看,随着业务量的不断增大,这种高成本、低效率的支付模式,更是受到了广泛的诟病。
无链分布式账本的记账与交易模式变革

无链分布式账本借助 DAG 技术发生了很大的变革。从记账模式方面来看,实现了从同步记账到异步记账的提升。传统区块链是链式结构,其入度和出度都为 1,而无链分布式账本是树状结构,入度和出度有多个。这种结构上的改变有效化解了传统区块链阻碍并发性提高的瓶颈问题。当跨境企业进行大量转账交易时,能够同时对多笔交易进行处理,从而使处理效率得到了大幅提高。

无链分布式账本提升跨境支付速度
在跨境支付速度提升这一方面,无链分布式账本起到了很大的作用。传统区块链结构下,跨境支付的速度较为迟缓。而无链分布式账本的存储结构以及交易验证方法,能够支持异步并发写入交易。比如对于一些跨国企业的大额资金转账,若使用传统区块链,可能需要花费很长时间去等待;但采用无链分布式账本,就能够大大缩短等待的时间。它可以使跨境支付更及时、更准确地完成,与现代商业快速发展的节奏相契合。
低廉的跨境支付管理成本
无链分布式账本的跨境支付管理机制运行成本很低。它借助分布式节点来交叉验证交易,并且不收取交易手续费。一些小型跨境电商在传统区块链模式下,每一笔交易的手续费累积起来是一笔不小的开支。而这种新的账本能够让这些小型企业节省成本,从而使更多企业能够更灵活地参与到跨境支付当中。
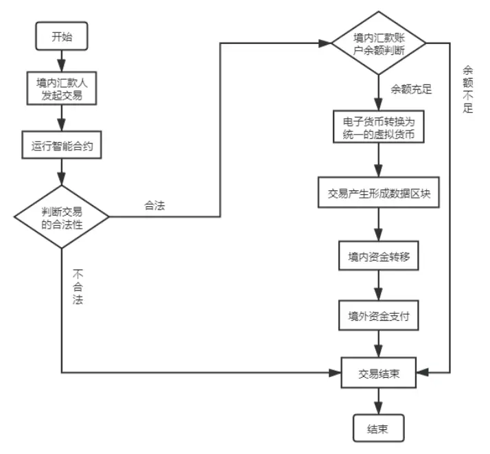
跨境支付的交易过程和区块链开销
首先,在支付交易发起之前,境内汇款方需提供具有合法权利的区块哈希值。接着,在经过相关的合法性确认以及电子货币账户余额足以支付本次交易之后,智能合约会生成新的交易区块。然后,境内汇款方的电子货币会被转换为统一的虚拟货币,同时会提供包含交易信息的区块哈希值。在这个过程中,大部分的区块链开销是由智能合约查找特定交易区块所产生的。例如,某企业在进行跨境转账时,就必须按照这个流程进行操作,并且要留意与区块链开销相关的成本。
跨境支付方案的安全性公平性
在安全性方面,DAG 方案具有明显优势。在交易信息对称加密算法的安全性方面,汇款方提交交易信息时采用 3DES 算法,其密钥有 192 位,其中包含 168 位有效位和 24 位校验位。在资金管理的安全性方面,交易信息的解密密钥通过公钥加密后包含在收款方的区块体中。同时,在智能合约的公平性方面,智能合约由去中心化存储来保障执行,一旦判定交易成立,双方都无法对其进行干预。即使部分网络节点出现瘫痪情况,也不会影响系统的运行,对于大银行和小金融公司在跨境支付安全方面都能提供很好的保障。
大家觉得基于 DAG 技术的无链分布式账本能否成为跨境支付未来的主流方式?欢迎大家点赞,欢迎大家分享,也欢迎大家在评论区留下自己的观点。
tp官方网站下载是一款领先的多链加密货币钱包,为用户提供安全、简便的数字资产管理和交易体验。tp官方正版下载允许用户安全地存储、发送和接收USDT,并提供实时的资产余额和交易记录。 用户可以通过tp官方app下载进行充值、提现和交易,从而更方便地参与加密货币市场的投资和交易活动。